Description
|
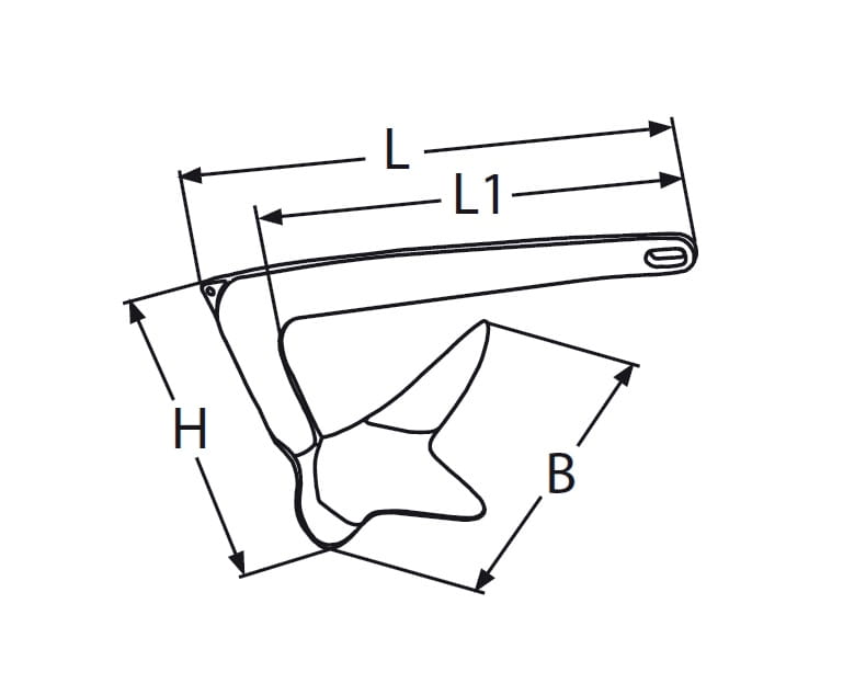
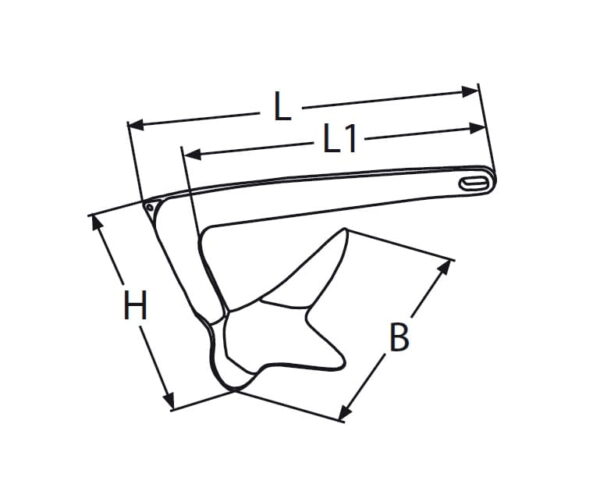
Kotwica Brucea 15 kg Kotwica Bruce wykonana jest z jednego kawałka stali i jest całkowicie ocynkowana ogniowo. Występuje również pod nazwą kotwica pługowa. Kotwica bardzo szybko zakotwicza się na niemal każdym dnie morskim, w piasku, błocie, skałach, koralach. Dobrze działa również przy krótkim łańcuchu. Jest to jedna z najbardziej niezawodnych kotwic. Żeby zwiększyć siłę trzymania warto dociążyć kotwicę łańcuchem. Posiada otwór do zaczepienia łańcucha kotwicznego, krętlika lub liny kotwicznej oraz otwór gdzie można zaczepić bojrep. Kotwica – dane techniczne:
|






